당사의 사일로 계량기(Silo, Hopper Scale)는
로드셀을 사일로, 호퍼(이하 ‘사일로’)의 기둥에 부착하여
사일로의 무게를 읽어내는 방식입니다.
특히 콘크리트 Skirit형 Silo의 경우에는
콘크리트 Skirt에 로드셀을 부착하여 사일로의 무게를 읽어냅니다.
| Silo Scale의 이론적 고찰 |
| 온도 보정의 성능시험은 Silo에 내용물의 공급, 배출을 하지 않는 시간(예 18시 ⇨ 06시)에 Silo의 현재값(무게)에 변화가 없으면 온도 보정 System이 정상 작동 하는 것이다. |
| -정밀측정기술사 김두봉 010 5389 1085- |
당사 Silo Scale의 특징
1, 성능이 검증된 Load Cell을 사용하므로 내구성을 신뢰 할 수 있습니다.
2, Silo의 기둥 또는 Skirt에 온도측정 장치를 설치하여 온도보정을 합니다.
비고> 기둥 또는 Skirt의 온도변화에 의한 탄성계수의 변화는 실온(-20℃ ∼ 40℃)에서
1/1000 이하 이므로 Silo scale에서는 보정 할 필요가 없습니다.
다만, 기둥의 온도팽창(또는 수축)에 대하여 보상을 하여야합니다.
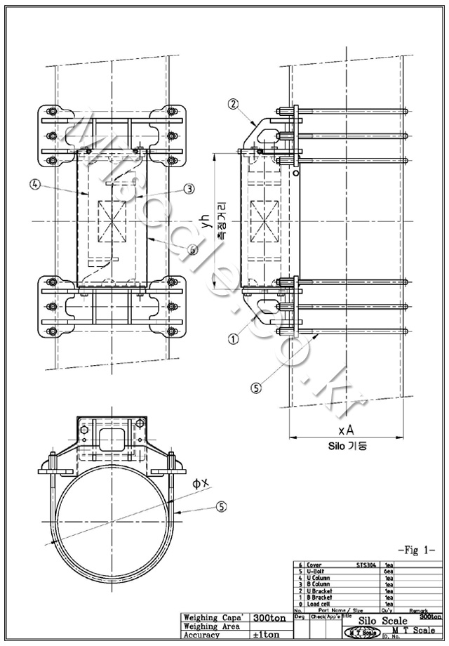
3, Hopper형 Silo의 경우에
Silo의 기둥에 Load Cell을 부착하는 Bracket을 U-Bolt로 고정하므로
Silo의 구조물을 손상시키지 않습니다. (하단 첨부도면 Fig –1 참조)
4, Skirt형 Silo의 경우에
Concrete Skirt에 Set Anchor로 Bracket을 고정하므로 구조체의 손상을
최소화 하면서 Bracket을 견고하게 고정 할 수 있습니다.
(하단 첨부도면 Fig –2 참조)
설치 예
<Silo Scale의 부품 (Bracket & Column) 조립>
<Load cell & Indicator를 포함한 Silo Scale 시험 조립>
Silo Scale은 용량이 너무 크기 때문에 분동 Calibration이 불가능합니다.
따라서 Calibration을 로드셀 출력값에 비례하는 중량 변화율을
기둥 또는 Skirt의 Silo 무게에 의한 응력값을 계산하여 설정합니다.
(사진의 Indicator에 표시된 값은 임의로 설정한 값입니다.)
<Silo Scale의 기능성 부품을 시험조립 후에 Cover 조립>
<Silo Scale 출고 대기>
설치실적 : 아산현장 Hopper형 Silo scale
<Silo의 기둥에 조립>
Bracket은 고정위치의 변형을 원천적으로 방지하기 위하여
U-Bolt를 3개씩 체결합니다.
<Silo의 기둥에 조립>
<Silo Scale 외부표시기>
기타 중량신호는 운전실의 컴퓨터에 전송하여 DATA처리합니다.
설치실적 : 여수현장 Skirt형 Silo scale
<Silo Skirt에 Load cell Bracket 부착>
<로드셀 브라켓에 보온하고 Cover를 닫습니다.>
<중량 확인하고 Cable 포설 및 보온작업 준비>
<온도보상용 온도계>
Skirt가 무게에 의하여 변형하지만
온도에 의하여도 변형하므로 온도에 의한 변형은 무게와
무관한 것이므로 상쇄 시켜줘야 합니다.
<무게 표시기(Indicator)>
<Silo 전경 –1>
<Skirt 형 Silo 전경 – 2>
설치실적 : 여수현장 Hopper scale
<Hopper Scale 용 로드셀 브라켓 조립>
<Hopper Scale 에 로드셀 설치>
<Load cell & Indicator Box>
<Hopper Scale 설치 완료>
당사의 Scale부품은 도금을 해서 깔끔하게 마무리합니다.
(설치 현장에서 수정하는 경우가 없습니다.)
설치실적 : 영천현장 Hopper scale(비료 배합 System)
<Hopper scale 용 박판 판저울>
Hopper에 끼워 넣기 위한 박판 판저울입니다.
<박판 판저울–2>
<판저울 위에 Hopper unit 설치>
Hopper unit을 지게차로 들어서 설치합니다.
<Hopper unit 설치 – 2>
<Hopper scale 시운전>
Hopper scale을 설치하고 Hopper에 각각의 원료를 투입하고 Conveyer를 구동하고,
각각의 배출장치(Rotary feeder)를 가동하여 시운전합니다.(배합비 조정)
<Hopper scale 제작도면>
Hopper scale Control system 으로서
3set의 Scale unit, MCC Panel, 배합비 연산용 Tablet P C의 구성도입니다.
본 Hopper scale은 3종류의 원료(깻묵, 미강, 채종유박)을
“2 : 2 : 6″의 비율로 배합하는 설비로서 계량은 배출계량을하여
각각의 배합비를 정확히 조정하여 가동하는 System입니다.
설치실적 : 아산현장 Hopper형 Silo scale – 2
<Silo scale을 개발실에서 가조립>
<가조립한 Scale을 현장에 반입>
<Scale을 Silo의 기둥에 조립>
<Cover를 조립하여 Silo scale을 완성합니다.>
설치실적 : 아산현장 Hopper형 Silo scale – 3
<Dummy scale을 이용하여 Bracket을 용접합니다.>
<Scale Unit를 조립하고 작동상태를 확인합니다.>
<Scale cover를 부착하여 Silo scale을 완성합니다.>
<여러개의 외부 표시기를 모아서 설치하였습니다.>
<실시간 모니터링>
실시간으로 현재 재고량을 모니터링합니다.
설치실적 : Bimbo현장 Skirt형 Silo scale
<Skirt형 Silo>
<Skirt 내부에 로드셀을 설치합니다.>
Load cell 설치와 동시에 온도계도 설치합니다.
<Scirt형 Silo scale>
Scale의 온도영향을 최소화하기 위하여
2중쟈켓을 설치하고 보온재로 보온을 하였습니다.
<Skirt형 Silo scale 설치 외관>
<Silo scale Indicator & Display>
Silo scale 전용(온도제어 기능 포함) Indicator(스텐박스)와
외부표시기가 설치되어있습니다.
주의> Scirt형 Silo scale은 대체로 Scirt에 작용하는 응력이
너무 적은관계로 측정이 불가한 경우도 있으니 신중히 검토하여야하며,
Silo의 형상에 따라 직접측정도 고려해서 최적의 측정방법을 찾아서
정확한 설계 후에 설치하여야 합니다.
<Fig – 1 : Hopper type의 Silo 기둥에 로드셀을 부착하는 Silo Scale도면>
<Fig – 2 : Skirt type의 Concrete Skirt에 로드셀을 부착하는 Silo Scale도면>
<Fig – 10 : Hopper scale을 원자재 혼합용으로 활용하는 예>
<Fig – 11 : Tank scale에서 계량하고 피덴서에 투입하여 압송하는 예>
Digital 연속계량을 포함한
특수계량 System 상담을 환영합니다.
-감사합니다-
<영업상담 : 010-5389-1085>
